冠生园创建于一九一五年,是一家有着百年历史的中华民族老字号企业,是由光明食品集团所属上海益民食品集团与国际跨国公司中信资本共同投资的中外合资企业,也是中国食品工业二十大杰出企业之一。冠生园公司的科研机构为市级技术中心,并通过了国家实验室认可,同时拥有多项技术发明专利,并在全国各大省市建立了20多个销售中心,形成2000余个销售网点。与逾100家国外经销商建立长期业务往来关系,并在五十多个国家和地区注册了商标。

2006年,冠生园是首批被国家商务部认定为“中华老字号”的企业之一。

公司旗下的“大白兔”奶糖诞生于1959年,是建国十周年的礼品,自发售以来就一直深得民心。今天小编要和大家说的是“大白兔话梅糖”与“马大姐话梅糖”的那些事儿。
“大白兔-天山牌” VS “马大姐牌”
2015年上海冠生园食品有限公司(下称冠生园公司)发现北京康贝尔食品有限责任公司(以下简称康贝尔公司)、河北燕源食品有限公司(以下简称燕源公司)生产、销售的“马大姐牌”话梅糖(以下简称马大姐话梅糖)在包装、装潢上分别与“大白兔-天山牌”话梅糖(以下简称大白兔话梅糖)的包装、装潢构成相同和近似,极易使消费者产生混淆。
冠生园公司认为, 上述行为违反了《反不正当竞争法》第五条第(二)项规定,给其造成了巨大的经济损失和商誉损害,构成不正当竞争。冠生园公司以康贝尔公司、燕源公司侵犯其知名商品特有包装、装潢为由,起诉至北京市东城区人民法院(下称东城法院),请求法院判令二被告立即停止在“马大姐牌”话梅糖商品上使用与冠生园话梅糖枕式、扭结式商品的相近似的包装、装潢,在淘宝网首页刊登声明消除影响,并共同赔偿其经济损失及合理开支300万元。

涉案产品
冠生园公司表示: 冠生园公司是冠生园集团旗下的核心企业之一,在国际、国内市场上创立了“冠生园”、“大白兔”、“百花”等诸多具有中国民族特色的品牌。冠生园公司拥有的第582048号图形商标于1992年注册成功,第899060号“话”商标于1996年注册成功,第100310号“天山”商标于2003年注册成功,上述商标的核定使用商品均为第30类糖果。1986年12月30日,上海冠生园食品厂经国家工商行政管理总局商标局(以下简称国家商标局)核准,注册取得第273338号,核定使用商品为第38类糖等,并经核准续展在商品国际分类第30类。

第582048号图形商标

第899060号“话”商标

第100310号“天山”商标

第273338号商标
冠生园话梅糖的包装包括两种:一种为枕式包装,即整个包装形似枕头,玻璃糖纸两侧对折后封口;另一种为扭结式包装,即玻璃糖纸两侧呈扭结式旋转。冠生园公司认为,两种糖纸包装所采用的材质均为玻璃纸,该材质本身虽没有特殊性,公司对其不享有专利,且市场上的糖果包装主要为枕式和扭结式,但将玻璃纸用于包装话梅糖系原告首创,所以这两种包装的材质及形状均为特有。
康贝尔公司、燕源公司辩称: 1、冠生园话梅糖并非知名商品;2、冠生园话梅糖的包装和装潢属于冠生园(集团)有限公司所有,原告主体不适格,且该包装、装潢均不具有独特性。我国《食品安全国家标准预包装食品标签通则》要求应在食品标签的醒目位置清晰标示反映食品真实属性的专用名称,故话梅糖的主视图在选用与话梅糖相同的传统咖色作为底色,且为了制造强烈的视觉冲击感,糖纸的字体和图形选用反差较大的白色后,中间部位通常会凸显“话梅糖”或“话梅硬糖”,这是标注的商品属性,系通用名称;3、燕源公司系马大姐话梅糖的生产商,康贝尔公司仅是销售商。马大姐话梅糖的包装和装潢均由康贝尔公司自行设计,于2003年开始使用,与冠生园话梅糖的包装和装潢不构成近似,且标有显著的“马大姐”驰名商标,商品来源信息显著突出,不会使消费者产生混淆,故不构成不正当竞争。
该案的争议焦点在于: 一、关于冠生园话梅糖是否为“知名商品”;二、关于冠生园话梅糖的包装、装潢是否构成特有的包装、装潢、三、关于二被告的行为是否构成不正当竞争以及应否承担法律责任。
东城法院经审理认为, 康贝尔公司生产的话梅糖采用了传统的包装设计方式,并与市场上销售的同类产品进行了区分,不会与同类产品造成混淆。冠生园话梅糖糖纸的材质及枕式、扭结式形状,为众多糖果食品所采用,不具有区别商品来源的显著特征,故不应认定其具有特有性。
从整体来讲,原被告双方生产的话梅糖产品在结构布局、文字图案设计、位置排列等显著特征方面差异明显,不构成相同或近似,一般不会造成相关公众的混淆误认。据此,一审法院判决驳回冠生园公司的全部诉讼请求。
冠生园公司不服东城法院判决,上诉至北京知识产权法院。
北京知识产权法院经审理查明: 糖果商品的装潢设计具有较大的创作空间,在现有证据足以证明冠生园话梅糖在先持续使用其特有装潢并已具有较高知名度的情况下,康贝尔公司、燕源公司并未对原告在先装潢予以适当避让。此外,二被告未经许可,擅自在其生产的涉案马大姐话梅糖上使用与原告话梅糖特有装潢相近似的装潢,容易使消费者对商品来源产生混淆,误认为马大姐话梅糖与冠生园话梅糖的经营者具有许可使用、关联企业关系等特定联系。综上,法院判决二被告立即停止在“马大姐牌”话梅糖商品上使用与原告冠生园话梅糖商品的特有装潢相近似的装潢,并赔偿原告经济损失及合理支出52.5万元。
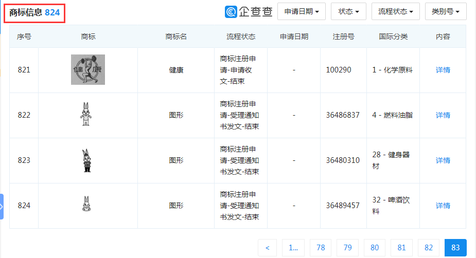
冠生园公司商标布局
企查查数据显示,冠生园公司名下共有商标824件,从上个世纪八九十年代已经开始申请“大白兔”、“天山”、“华佗”、“百花”、“白兔”等商标,经过几代续展过程,现依旧在使用。

其中含有“大白兔”字样的商标104件;

从商标信息统计分析,2019年申请商标高达177枚;这177枚商标,基本上是各种各样大白兔的图形。

为防止别人恶意抢注相同、近似商标,从最早的注册商标“大白兔”到现在,冠生园方面共注册了300多个保护性商标,包括大灰兔、大黑兔、大花兔、小白兔、金兔、银兔等。

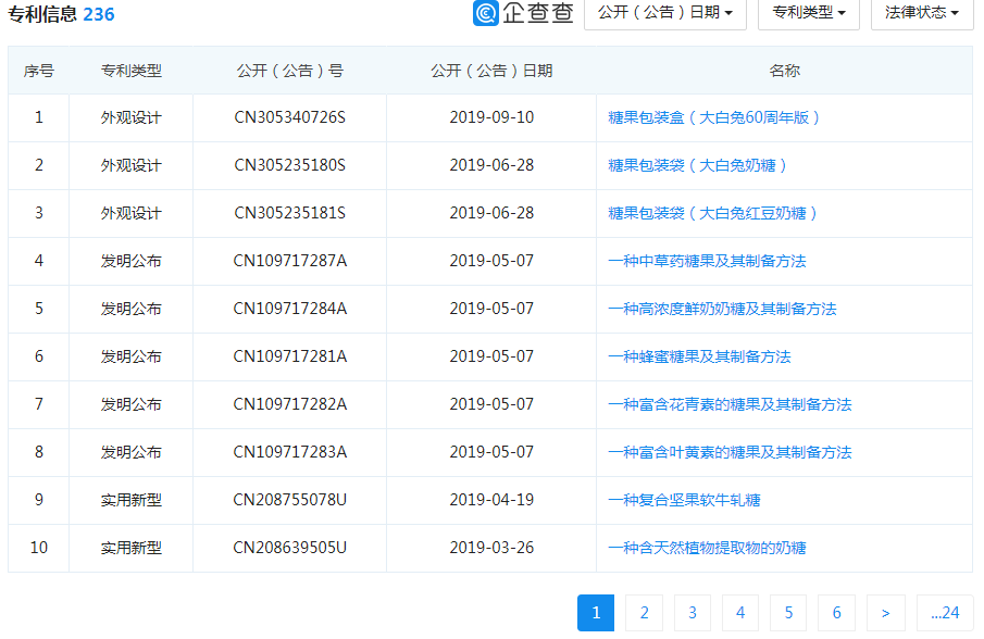
专利方面,共申请236件;不仅为各种糖果申请了发明专利,还为大白兔60周年版的糖果包装盒申请了外观专利。

北京康贝尔食品有限责任公司

康贝尔公司原北京京源马大姐食品有限公司成立于2000年6月14日,公司集科研、开发、制造、销售为一体,至今已成为中国糖果、巧克力行业最大的专业厂商之一,成为北方糖果杰出的代表。
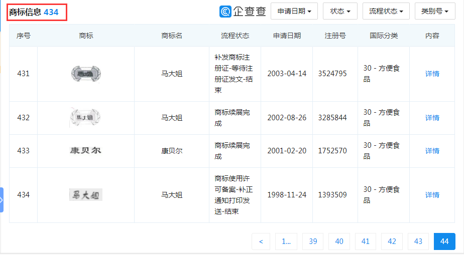
企查查数据显示:公司名下共申请商标434件,从1998年开始,公司开始商标布局,申请了“马大姐”、“康贝尔”、“小贝儿”等商标,而且涵盖各个类别。

其中含有“马大姐”字样的商标137件;

1998年申请了第一枚“马大姐”商标,核定使用在第30类。

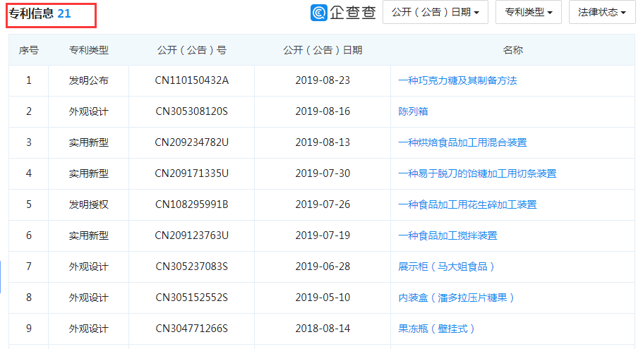
专利21件,包括各种糖果的发明专利,食品加工装置的实用新型专利,包装纸、包装盒的外观设计专利。

河北燕源食品有限公司
简称燕源公司成立于2007年,经营范围包括:糖果制品、饼干、糕点、蜜饯、豆制品、大豆蛋白制品生产、销售等。其中康贝尔公司法人为其股东。
经商标网检索发现,公司名下没有任何商标。
后记:
诞生于1959年的“大白兔”今年迎来了60周年庆典,这颗中国最著名的奶糖以一种更年轻,更有活力的姿态出现在大众视野,通过和美加净、太平洋咖啡、气味图书馆等品牌联合打造跨界产品,让我们知道了大白兔正在散发活力与生机。
在未来,随着95后、00后逐渐成为消费主力,“守得住经典,当得了网红”将成为对众多老字号品牌的要求。
附:判决书全文




来源:IPRdaily中文网
作者:柚子
编辑:IPRdaily王颖
便捷链接:“大白兔-天山牌”VS,“马
本文来源:网络?买卖商标注册授权入驻“天猫”“京东”“拼多多”“抖音头条”“商标百科”
版权说明:上述为转载或编者观点,不代表亿佰倍懂商标意见,不承当任何法律责任
亿佰倍懂商标官方微信
欢迎关注亿佰倍懂
微信号:K58158 热门TAGS
购买上海商标 商标复审 商标撤三答辩 商标驳回复审 国际商标驳回 知名商标转让 白酒商标网 19类商标转让 18类商标转让 17类商标转让 16类商标转让 15类商标转让 14类商标转让 13类商标转让 11类商标转让 12类商标转让 10类商标转让 9类商标转让 8类商标转让 7类商标转让 6类商标转让 5类商标转让 4类商标转让 3类商标转让 2类商标转让 1类商标转让 T恤商标转让 红酒商标转让 黄酒商标转让 水饺商标转让 糖果商标转让 闲置商标转让 商标购买网站 月饼商标转让 购买月饼商标 购买牛奶商标 牛奶商标转让 购买餐饮商标 餐饮商标转让 啤酒商标转让 购买啤酒商标 购买酒类品牌 酒类品牌转让 购买饮料商标 饮料商标转让 食品商标转让 购买食品商标 购买镀膜商标 镀膜商标转让 机油商标转让 购买机油商标 头枕商标转让 购买头枕商标 车衣商标转让 购买车衣商标 购买车贴商标 车贴商标转让 凉垫商标转让 睡袋商标转让 包子商标转让
联系方式
【商标网】
企业QQ:1728988888
手机: 18211558558
官方微信:K58158
广东(总部)北京(分部)深圳(分部)

*截止
,共有人阅读了本文。


40
加工服务