阿里的品牌保护一向都做得不错,这一点很值得学习!
从阿里巴巴到阿里爸爸、阿里妈妈、阿里爷爷、阿里奶奶、阿里妹妹、阿里姐姐、阿里哥哥、阿里宝贝......阿里集团在相似商标上的保护也可谓令人发指,而旗下更是收纳了天猫、飞猪、凤尾蝶、蚂蚁金服、闲鱼、菜鸟等,俨然是一个“阿里动物园”,在相关的域名和商标保护上,阿里也是下了不少功夫。
近日我接到知情人士的曝料,阿里文娱又注册了几枚“杰力豆”商标,并且几枚相关域名已被域名投资人抢注。

“杰力豆”是什么鬼?听到这个消息我还以为又是阿里推出的什么新平台,然而据爆料者介绍和查询资料后才发现,原来“杰力克”是阿里旗下优酷平台将于2019年1月18日上映的原创动画系列短片。
据悉,《杰力豆》(英文名:Zelly Go)风格幽默搞笑,第一季共104集,该动画主要讲述了杰力果果、杰力肉肉、杰力乔乔、杰力波波为主的四个小伙伴想尽办法追寻糖果的故事。换句话说,《杰力豆》可以说是阿里文娱自创的一个动画IP。


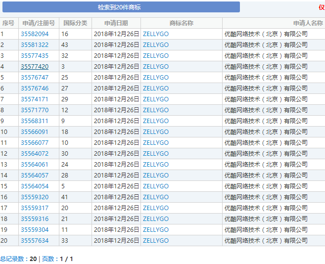
商标局官网显示,优酷网络技术(北京)有限公司在2018年12月26向国家商标局递交了20枚“Zelly Go”申请;同一天还申请了20枚“杰力豆”中文商标。累计40枚商标注册申请,阿里文娱对自创动画IP的重视程度可想而知。
但是在域名方面,阿里文娱似乎并没有太放在心上,“杰力克”相关的拼音域名、英文域名均为显示有在阿里或者优酷名下的,反而是一些米农得到风声提前下手了。
据查询结果显示,《杰力克》(Zelly Go)相关域名中,zellygo.com早在2017年就被别人抢先注册了,域名zellygo.cn/.com.cn则都是在这几天被投资人抢注的;拼音域名jielidou.com/.cn也是如此,分别在1月12号和13号被投资人抢注。
大品牌的动向,关注的人通常都很多,而域名圈不少投资人更是喜欢关注阿里、腾讯等巨头相关的动态,一有风吹草动往往就会有抢注域名的情况出现。当然了,“机会是留给有准备的人”这句话也没有错,但其中不排除抢注的域名是“学费米”的情况。
这一次,阿里文娱打造动画IP《杰力克》从而引起域名抢注行为,但这些域名是否真的能得到阿里的青睐,从而带来投资回报呢?
便捷链接:阿里文娱注册40枚商标着力
本文来源:网络?买卖商标注册授权入驻“天猫”“京东”“拼多多”“抖音头条”“商标百科”
版权说明:上述为转载或编者观点,不代表亿佰倍懂商标意见,不承当任何法律责任
亿佰倍懂商标官方微信
欢迎关注亿佰倍懂
微信号:K58158 热门TAGS
购买上海商标 商标复审 商标撤三答辩 商标驳回复审 国际商标驳回 知名商标转让 白酒商标网 19类商标转让 18类商标转让 17类商标转让 16类商标转让 15类商标转让 14类商标转让 13类商标转让 11类商标转让 12类商标转让 10类商标转让 9类商标转让 8类商标转让 7类商标转让 6类商标转让 5类商标转让 4类商标转让 3类商标转让 2类商标转让 1类商标转让 T恤商标转让 红酒商标转让 黄酒商标转让 水饺商标转让 糖果商标转让 闲置商标转让 商标购买网站 月饼商标转让 购买月饼商标 购买牛奶商标 牛奶商标转让 购买餐饮商标 餐饮商标转让 啤酒商标转让 购买啤酒商标 购买酒类品牌 酒类品牌转让 购买饮料商标 饮料商标转让 食品商标转让 购买食品商标 购买镀膜商标 镀膜商标转让 机油商标转让 购买机油商标 头枕商标转让 购买头枕商标 车衣商标转让 购买车衣商标 购买车贴商标 车贴商标转让 凉垫商标转让 睡袋商标转让 包子商标转让
联系方式
【商标网】
企业QQ:1728988888
手机: 18211558558
官方微信:K58158
广东(总部)北京(分部)深圳(分部)

*截止
,共有人阅读了本文。


40
加工服务