全部服务分类
  • 商标注册1专区

  • 申请商标专区

  • 商标套餐专区

  • 白酒商标转让专区

  • 商标转让专区

  • 版权登记专区

  • 城市商标注册专区

  • 中国商标转让专区

more

已经注册了4000多件商标的迪士尼竟还被“钻空子

*截止 ,共有人阅读了本文。

推荐阅读:已经注册了4000多件商标的


  米老鼠、唐老鸭、狮子王......

  这些经典动画IP很多人都知道是迪士尼公司创造的。迪士尼公司创办于1926年,在这近百年的发展过程中创造了诸多经典影视动画类IP,而迪士尼的业务也由当初的二次元动画扩大到了主题公园、娱乐、影视等众多领域,打造了属于自己的商业帝国。如果喜欢一品知识产权的文章,可以关注一品知识产权网,更多精彩的资讯等着您!

已经注册了4000多件商标的迪士尼竟还被“钻空子”

  在2018年12月世界品牌实验室编制的《2018世界品牌500强》名单之中,迪士尼排名第23位,而迪士尼有这样的成绩,和其疯狂的知识产权意识密不可分。比如在版权保护这个领域,甚至有人调侃迪士尼有“版权癌”。

  商标方面,目前仅是中国境内在“迪士尼企业公司”这个主体下就申请了4481件商标,其中包含了“超人总动员、疯狂动物城、无敌破坏王、阿德尔、米老鼠、唐老鸭、明尼老鼠、玩具总动员、星黛露、迪士尼视界”等商标,可见迪士尼在知识产权保护上几乎是做到了“无微不至”。

已经注册了4000多件商标的迪士尼竟还被“钻空子”

  然而百密终有一疏.....

  迪士尼公司如此疯狂地保护自己的知识产权和IP,也难免不会被“钻空子”。近期得到消息,迪士尼公司就向中国商标评审委员会针对一枚“迪时妮”商标提起了无效宣告请求,这又是怎么回事?

已经注册了4000多件商标的迪士尼竟还被“钻空子”

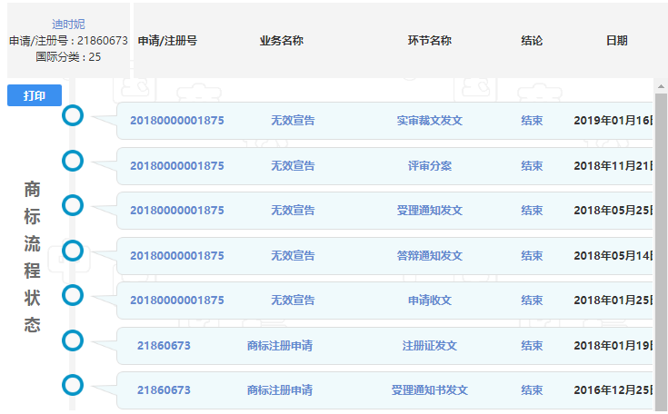
  商标局官网显示,涉案商标的注册号为第21860673号,这枚“迪时妮”商标由潘某于2016年11月10日提出申请注册并于2017年12月28日通过审核注册成功,被核定使用在内衣; 服装; 裤子; 羽绒服装; 紧腿裤(裤子); 成品衣; 围巾; 袜; 鞋(脚上的穿着物); 靴等25类商标上。

已经注册了4000多件商标的迪士尼竟还被“钻空子”

已经注册了4000多件商标的迪士尼竟还被“钻空子”

  2018年1月25日,迪士尼公司针对涉案商标提出了无效宣告请求。

  商评委审理作为裁定,争议商标与引证商标一至五并存于上述同一种或类似商品上易导致相关消费者的混淆误认,已构成《》第三十条所指使用在同一种或类似商品上的近似商标,应予无效宣告。

  目前,第21860673号“迪时妮”商标注册人尚未针对此案件作出回应,是否会提起行政诉讼也无法得知。

  结局还未敲定,但我们从这起案件中却依旧能感受到迪士尼公司的知识产权保护意识。为了保护品牌,迪士尼公司申请注册了4000多件商标,但总有让人防不胜防的时候。据悉,除了这一次的“迪时妮”商标之外,迪士尼公司还曾对第14254632号“米奇努比”、第14220293号“米奇娃娃”、第19285166号“疯狂动物城”、第19285883号“ZOOTOPIA”等商标提起过无效宣告。

  商标是企业产品与服务的品牌标识,不仅是企业形象的代表也体现着相应的文化内涵,对于迪士尼这样的大IP企业更是如此。

  迪士尼能构建起一个全产业链传媒娱乐帝国,并受到全世界的欢迎与认可,这是迪士尼的魅力,也是其重视知识产权的成果所致。正是迪士尼对原创开发的极端重视,对知识产权的严密保护,才能有迪士尼今天的成就。


上一篇:盘点中国古代黑科技,看看古代“空调”什么样
下一篇:民谣歌手花粥就歌曲抄袭致歉 愿意承担一切法律


亿佰倍懂商标官方微信

欢迎关注亿佰倍懂

亿佰倍懂 微信号:K58158

热门TAGS


购买上海商标 商标复审 商标撤三答辩 商标驳回复审 国际商标驳回 知名商标转让 白酒商标网 19类商标转让 18类商标转让 17类商标转让 16类商标转让 15类商标转让 14类商标转让 13类商标转让 11类商标转让 12类商标转让 10类商标转让 9类商标转让 8类商标转让 7类商标转让 6类商标转让 5类商标转让 4类商标转让 3类商标转让 2类商标转让 1类商标转让 T恤商标转让 红酒商标转让 黄酒商标转让 水饺商标转让 糖果商标转让 闲置商标转让 商标购买网站 月饼商标转让 购买月饼商标 购买牛奶商标 牛奶商标转让 购买餐饮商标 餐饮商标转让 啤酒商标转让 购买啤酒商标 购买酒类品牌 酒类品牌转让 购买饮料商标 饮料商标转让 食品商标转让 购买食品商标 购买镀膜商标 镀膜商标转让 机油商标转让 购买机油商标 头枕商标转让 购买头枕商标 车衣商标转让 购买车衣商标 购买车贴商标 车贴商标转让 凉垫商标转让 睡袋商标转让 包子商标转让

联系方式

【商标网】
企业QQ:1728988888
手机: 18211558558
官方微信:K58158
广东(总部)北京(分部)深圳(分部)