要想进行二次商业开发,少不了注册商标保驾护航。但是,很多时候影视作品权利人似乎并不清楚如何申请注册商标。正因为此,影视作品商标纠纷屡屡见诸于媒体。本文以东阳正午阳光影视有限公司作为影视作品分析的范例,看看影视作品如何申请商标。
影视作品要想进行二次商业开发,少不了注册商标保驾护航。但是,很多时候影视作品权利人似乎并不清楚如何申请注册商标。正因为此,影视作品商标纠纷屡屡见诸于媒体。
笔者试图厘清影视作品应当如何注册商标,最简单的方式就是寻找一个范例进行分析说明。因此,笔者挑选了东阳正午阳光影视有限公司(以下简称正午阳光)作为影视作品注册商标分析的范例,该公司在影视领域有口皆碑,在商标的管理上既有可称道的地方,也有让人疑惑之处。下面,我们来以正午阳光为范例,看看影视作品如何注册商标。
一、在哪些类别注册商标?
在此首先厘清一点,尽管商标全类注册已成流行,但并不建议不加选择的进行商标全类注册。商标除却识别商品和服务来源的功能,还具备稳固投资价值,防御他人攀附和侵占商誉,扩展商业投资的功能。对商标不加选择的进行全类注册往往是出于防范和拓展的目的。但问题在于,影视作品的商标价值来源于影视作品,其影响辐射范围限于文娱相关产业,其商标注册也因此应围绕相关领域进行,在完全不关联的类别注册商标于防御影视寄生营销无用,也无法助力未来商业拓展,显属浪费。
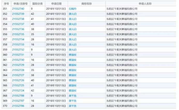
正午阳光基本围绕了文娱产业选择商标注册的类别,对其他影视作品具有不错的参考价值,具体如下图:

正午阳光2014年申请注册了第一件商标——“琅琊榜”,此后截至2019年5月底,共申请了508件商标。其中,其申请影视作品相关商标423件。超过2/3的影视作品商标申请在上图九个类别上,且选择的商品和服务项目均比较固定。在服务类别上(35类-45类),正午阳光除了在第38类影视作品相关服务上注册商标,影视行业涉及的教育、娱乐、广告领域也都注册了商标。并且,其每件服务类商标都申报了横跨多个类似群的服务项目,这也是一个经济有效的注册方式。
在商品类别上(1类-34类),正午阳光的商标所申报的商品具有集中性。其在9类上的商标集中申报了0901电子计算机及其外部设备,在第16类的注册集中在办公用品、印刷出版物相关商品上。
二、哪些元素可以注册商标?
前文提到,注册商标首先是为了获得标志本身识别的价值。在影视作品中,不仅仅是影视作品的名称具备识别的功能和价值,其他元素亦然,都可以申请注册商标来稳固投入,拓展投资。
以正午阳光在“琅琊榜:风起长林”电视剧上申请注册的商标为例,其除了按照一般的逻辑将影视作品的名称注册为商标:

还将影视作品中主要角色的名称注册为商标:

其作品中地名也申请注册了商标:

这种商标注册方式,可以使得影视作品的权利人可以顺利的对其影视作品的方方面面进行保护和开发,拓展其商业价值,而不必有后顾之忧。
三、什么时间申请注册商标?
申请商标注册,时间宜早不宜晚,在权利能确定的时候申请时机最佳。
以正午阳光拍摄的“琅琊榜之风起长林”为例,该剧于2016年11月获得备案公示:

对影视剧而言,在获得制作许可时即申请商标对自身的权利进行保护,可以起到及时防止影视寄生营销的效果,也能避免无用的支出。
四、商标专用权保护和商标防御注册
商标的生命在于使用,商标专用权人对其注册商标有义务进行使用。但是,当笔者考量正午阳光的商标使用情况时,既没有发现其自己使用商标,也没发现有授权他人使用商标的现象。大量商标只是躺在商标库里呼呼大睡。
不仅仅是正午阳光,也不仅仅是影视行业,汽车、服装、家居……各个行业的知名企业几乎都注册了远远超出其使用需求的商标。这种现象显然不是用商标代理机构奋发图强能解释的。
防御性注册似乎能解释二三,注册商标不为使用,而是为了防止他人攀附商誉、淡化标志利益,或者干脆仅是禁止他人使用。 但为什么是商标?浅层的原因可能是商标注册便宜,并且商标的保护简单。注册一个商标,官费仅需要300元,而获得的保护相较于著作权保护方式而言,更为清晰和明确:仅凭商标注册证,无需更多举证,就可以在多数情况下排除他人在相同类似商品上的使用。正因为这种明确性,也使得版权的商标保护越发流行,比如腾讯将王者荣耀人物头像申请为商标。近年来,将外观设计专利图样申请为商标也已经不再新鲜。
在维权的经济和程序成本高的情况下,用注册商标来保护商业投入,甚至保护其它知识产权是个无奈却有效的选择,无法施以苛责。但正如前文所述,商标的生命在于使用,注册商标仅仅用于防御是对资源的浪费和垄断,也会助长商标恶意维权。当然,过高要求市场主体放弃利益追求崇高是不切实际的,一切最终有赖于商标管理和制度建设。笔者认为:对防御注册商标进行价格机制的调整,扩张驰名商标的保护可能是一个选择。

上一篇:金立211件外观设计专利在阿里拍卖,起拍价2.11万
下一篇:金立211宗外观设计专利将拍卖 起拍价2.11万元
便捷链接:影视作品商标注册?看看
本文来源:网络?买卖商标注册授权入驻“天猫”“京东”“拼多多”“抖音头条”“商标百科”
版权说明:上述为转载或编者观点,不代表亿佰倍懂商标意见,不承当任何法律责任
亿佰倍懂商标官方微信
欢迎关注亿佰倍懂
微信号:K58158 热门TAGS
购买上海商标 商标复审 商标撤三答辩 商标驳回复审 国际商标驳回 知名商标转让 白酒商标网 19类商标转让 18类商标转让 17类商标转让 16类商标转让 15类商标转让 14类商标转让 13类商标转让 11类商标转让 12类商标转让 10类商标转让 9类商标转让 8类商标转让 7类商标转让 6类商标转让 5类商标转让 4类商标转让 3类商标转让 2类商标转让 1类商标转让 T恤商标转让 红酒商标转让 黄酒商标转让 水饺商标转让 糖果商标转让 闲置商标转让 商标购买网站 月饼商标转让 购买月饼商标 购买牛奶商标 牛奶商标转让 购买餐饮商标 餐饮商标转让 啤酒商标转让 购买啤酒商标 购买酒类品牌 酒类品牌转让 购买饮料商标 饮料商标转让 食品商标转让 购买食品商标 购买镀膜商标 镀膜商标转让 机油商标转让 购买机油商标 头枕商标转让 购买头枕商标 车衣商标转让 购买车衣商标 购买车贴商标 车贴商标转让 凉垫商标转让 睡袋商标转让 包子商标转让
联系方式
【商标网】
企业QQ:1728988888
手机: 18211558558
官方微信:K58158
广东(总部)北京(分部)深圳(分部)

*截止
,共有人阅读了本文。


40
加工服务