日前,电动汽车制造商特斯拉日前提交了一份有关新型布线结构的专利申请,这种模块化布线结构更适用于汽车的自动化组装。一品知识产权支持发明专利申请、外观专利申请、实用新型专利申请,想了解更多和专利申请、专利维权有关的内容,尽请关注我们!

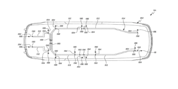
当特斯拉为扩大Model 3产能而引入更多的自动化流程时,机器人在布设长而柔软的汽车线束时遇到了麻烦,特斯拉不得不人工布设汽车线束。当时,特斯拉的直接解决方案是将缩小各种汽车线束的尺寸,这样就能降低安装过程的复杂程度。而新的布线结构设计将汽车线束分解为带有控制器的子组件,并在此基础上进行迭代。同时汽车线束件设计得更加坚硬,这将简化机器人的操作。
特斯拉在其专利申请中以组装车门为例,指出这些组件可以预先组装并放入汽车部件中。因此,机器人生产线上唯一需要做的电气连接就是车门组件和汽车线束接插件之间的连接。这种模块化结构还可以减少汽车线束中单独的线缆数量。这种方法可能还使得汽车的电子元件和系统能够更容易进行升级,因为它不会影响到整个汽车线束。特斯拉的新型布线系统仍在专利申请过程中,但这种设计很简洁,如果实现的话,可能会帮助特斯拉节省大量的劳动力成本。
上一篇:东营加强创建及高价值专利培育
下一篇:雅马哈新款NMAX 155 外观专利图曝光
便捷链接:特斯拉新汽车专利:,能简
本文来源:网络?买卖商标注册授权入驻“天猫”“京东”“拼多多”“抖音头条”“商标百科”
版权说明:上述为转载或编者观点,不代表亿佰倍懂商标意见,不承当任何法律责任
亿佰倍懂商标官方微信
欢迎关注亿佰倍懂
微信号:K58158 热门TAGS
购买上海商标 商标复审 商标撤三答辩 商标驳回复审 国际商标驳回 知名商标转让 白酒商标网 19类商标转让 18类商标转让 17类商标转让 16类商标转让 15类商标转让 14类商标转让 13类商标转让 11类商标转让 12类商标转让 10类商标转让 9类商标转让 8类商标转让 7类商标转让 6类商标转让 5类商标转让 4类商标转让 3类商标转让 2类商标转让 1类商标转让 T恤商标转让 红酒商标转让 黄酒商标转让 水饺商标转让 糖果商标转让 闲置商标转让 商标购买网站 月饼商标转让 购买月饼商标 购买牛奶商标 牛奶商标转让 购买餐饮商标 餐饮商标转让 啤酒商标转让 购买啤酒商标 购买酒类品牌 酒类品牌转让 购买饮料商标 饮料商标转让 食品商标转让 购买食品商标 购买镀膜商标 镀膜商标转让 机油商标转让 购买机油商标 头枕商标转让 购买头枕商标 车衣商标转让 购买车衣商标 购买车贴商标 车贴商标转让 凉垫商标转让 睡袋商标转让 包子商标转让
联系方式
【商标网】
企业QQ:1728988888
手机: 18211558558
官方微信:K58158
广东(总部)北京(分部)深圳(分部)

*截止
,共有人阅读了本文。


40
加工服务