在今年5月份举行的腾讯全球数字生态大会现场上,腾讯车联副总裁钟学丹明确表示,腾讯车联已在生态车联网解决方案中集成了微信服务,并将与车企合作伙伴一起打磨,预计年内落地。

据一品知识产权网了解,腾讯早已申请了8件“微信上车”商标,这也意味着车载微信离我们不远了。

这些商标均由腾讯科技在2018年11月5日申请,涉及多个类别,包括9、12、35、36、41、42等。目前已经有2个商标通过了初审。
从这批商标的申请时间来看,应该是为车载微信做准备。“项目未动,商标先行”如今已经成为很多公司的行动指南。
我们经常能看到很多大公司申请新商标,比如前段时间华为申请“Harmony”,小米申请“小米快递”……从这些企业的知产保护动态,我们也可以判断出它下一步的举措。
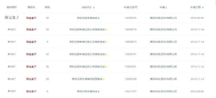
这并不是腾讯首次涉足车联网,早在2014年,全国移动互联网大会上,腾讯就发布过在车联网领域的第一款智能硬件“路宝盒子”。
当时腾讯也申请了多件“路宝盒子”商标。

但由于当时车联网的发展仍在初期阶段,腾讯推出“路宝盒子”后,百度、高德也相继推出车联网智能硬件,腾讯当时被称为“搅局者”,结果不了了之。
今时不同往日。
如今,腾讯已经在车联网领域涉足多年,已经成长为一个不可小觑的对手:2017年发布腾讯车联AI in Car智能汽车解决方案,2018年推出完整的解决方案--TAI(Tencent Auto Intelligence)汽车智能系统。
据说现在有20家合作车企、45款搭载腾讯车联技术的车型已经或等待量产落地。相信在不久的将来,我们应该能体验到腾讯的车联服务!
便捷链接:快上车!腾讯搞了8件商标
本文来源:网络?买卖商标注册授权入驻“天猫”“京东”“拼多多”“抖音头条”“商标百科”
版权说明:上述为转载或编者观点,不代表亿佰倍懂商标意见,不承当任何法律责任
亿佰倍懂商标官方微信
欢迎关注亿佰倍懂
微信号:K58158 热门TAGS
购买上海商标 商标复审 商标撤三答辩 商标驳回复审 国际商标驳回 知名商标转让 白酒商标网 19类商标转让 18类商标转让 17类商标转让 16类商标转让 15类商标转让 14类商标转让 13类商标转让 11类商标转让 12类商标转让 10类商标转让 9类商标转让 8类商标转让 7类商标转让 6类商标转让 5类商标转让 4类商标转让 3类商标转让 2类商标转让 1类商标转让 T恤商标转让 红酒商标转让 黄酒商标转让 水饺商标转让 糖果商标转让 闲置商标转让 商标购买网站 月饼商标转让 购买月饼商标 购买牛奶商标 牛奶商标转让 购买餐饮商标 餐饮商标转让 啤酒商标转让 购买啤酒商标 购买酒类品牌 酒类品牌转让 购买饮料商标 饮料商标转让 食品商标转让 购买食品商标 购买镀膜商标 镀膜商标转让 机油商标转让 购买机油商标 头枕商标转让 购买头枕商标 车衣商标转让 购买车衣商标 购买车贴商标 车贴商标转让 凉垫商标转让 睡袋商标转让 包子商标转让
联系方式
【商标网】
企业QQ:1728988888
手机: 18211558558
官方微信:K58158
广东(总部)北京(分部)深圳(分部)

*截止
,共有人阅读了本文。


40
加工服务