我国是一个约有五千年历史渊源的国家,中国的传统节日形式多样,内容丰富,如七大传统节日:春节、元宵、清明、端午、七夕、中秋、重阳,无一不是从远古发展过来的。今日,小编借着中秋的由头,咱们来说说关于节日名称被注册成商标的那些事儿。

中秋
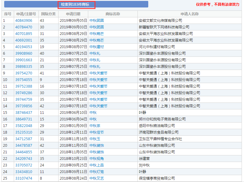
小编在商标局网站查询得知,含有“中秋”二字的共有183件,各个类别都有。

“中秋”商标最早是在1997年被沈阳中秋食品制造有限公司注册在了第29类,现在属于期满未续展注销的状态。

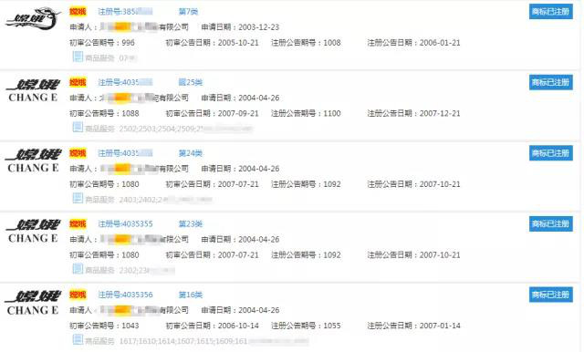
不仅“中秋”被注册,“嫦娥”、“后羿”也都被注册了。

嫦娥

后羿
新年
“新年”商标,系由徐福记公司于2012年11月提出注册申请的第11810590号“新年及图”商标,该商标于2014年5月被核准注册在糖果、饼干、面包等第30类商品上。

此外,在糖果等第30类商品上,徐福记公司还以新年相关的元素为标识,申请注册有“新年要吃新年糖 迎春接福满门喜”“吃徐福记酥心糖 才有过年的感觉”等商标,以及“恭喜发财糖”“徐福记发财糖”等图文组合商标,但上述商标大多未被核准注册。

而看好“新年”商机的并非徐福记公司一家。据中国商标网信息显示,除徐福记公司外,北京、上海、广东、福建等地的多家企业及自然人,共申请注册有两百件含有“新年”字样的商标,其中包括“新年”“新年快乐”等。

部分“新年”商标
同时,含有“春节”二字的商标亦达百件,包括“春节”“春节团圆幸福礼”“春节符号”等。但据中国商标网显示,上述商标的注册申请大多直接被国家工商行政管理总局商标局予以驳回。

部分“春节”商标
清明
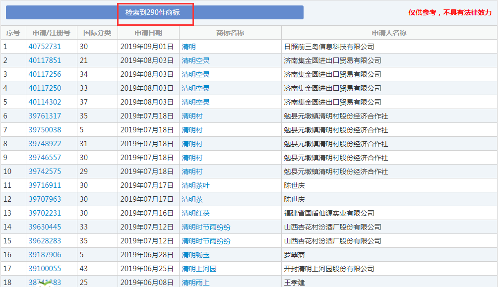
经查询得知,含有“清明”字样的商标共有290件。

大多数商标都比较“老”,于上个世纪八九十年代申请,商标大多都已经注册成功,但是现在属于期满未续展注销的状态。

而2000年之后申请的就没这么幸运啦,商标有的注册成功但也有的都被驳回了。

查询发现,以“清明节”命名的商标少之又少,只有6条结果。除2个商标为个人申请之外,剩下4个都由中实会祥(北京)春节文化传播有限公司注册申请,但均被驳回。看来,“清明节”作为一个传统节日,想要注册成商标,也不是那么容易的。

端午
中国端午节已于2009年成功申遗,入选《世界人类非物质文化遗产代表作名录》。
经查询发现截至目前,共有60件含有“端午”字样的商标,其中包括绝大多数为等待实质审查的,这部分比例约占75%,申请被驳回、不予受理等,导致商标无效的约占16% ,成功注册的所占比例最小,约占9%。


而关于“屈原”的字样和图形商标注册成功率就相对较高了,分别核准注册在了第3类、第20类、第25类、第41类商标类别上。

七夕
七夕节的来历与民间流传的牛郎与织女的故事有关,七夕节根据史料记载最早起源于汉代,东晋葛洪的《西京杂记》有“汉彩女常以七月七日穿七孔针于开襟楼,人俱习之”的记载,这便是我们于古代文献中所见到的最早的关于乞巧的记载。
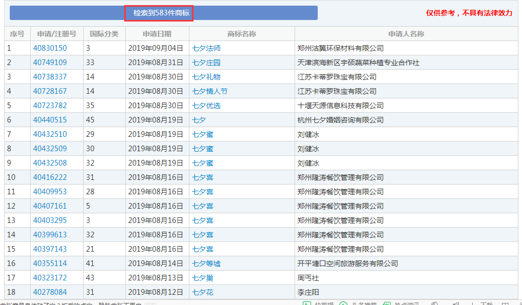
经小编在商标局官网上查询得知,光是与七夕有关的商标就583件。而且主要集中在第24类、第25类、第29类、第30类、第35类、第41类上。主要涉及服装家纺,食品,广告宣传等。

部分“七夕”商标
除了“七夕”商标,相关的“鹊桥”、“牛郎”等商标也早已被注册。借势营销,商家们是认真的...

鹊桥

牛郎
情人节
说到中国的“七夕”,就不得不提西方的“情人节”,它被誉为全世界“单身狗”的“受难日”。全世界各地的人都在抗议这一“惨绝人寰”、“惨无人道”的虐狗日。印尼某省直接禁止青少年庆祝情人节,试图扭转下一代的观念;日本剩男联盟组织抗议游行,试图“粉碎”该节日;中国无数商家则秉承一贯的作风,以玫瑰价格疯涨的形式,对广大情侣进行无声的控诉。
而中国的红豆集团则更直接,直接把“情人节”注册成为商标,大有“你过节需经过我同意”的味道。
通过查询发现,“情人节”作为商标,有45条注册信息,真正注册成功的只有5个,分别属于12、25、29、13、33类,而红豆集团持有前四个商标,分别涵盖服装、交通工具、食品等行业,另一个酒类商标归法国的一家公司(先查不到该公司信息)所有。

话说,以后过“情人节”是不是要给红豆集团报备一下呢?
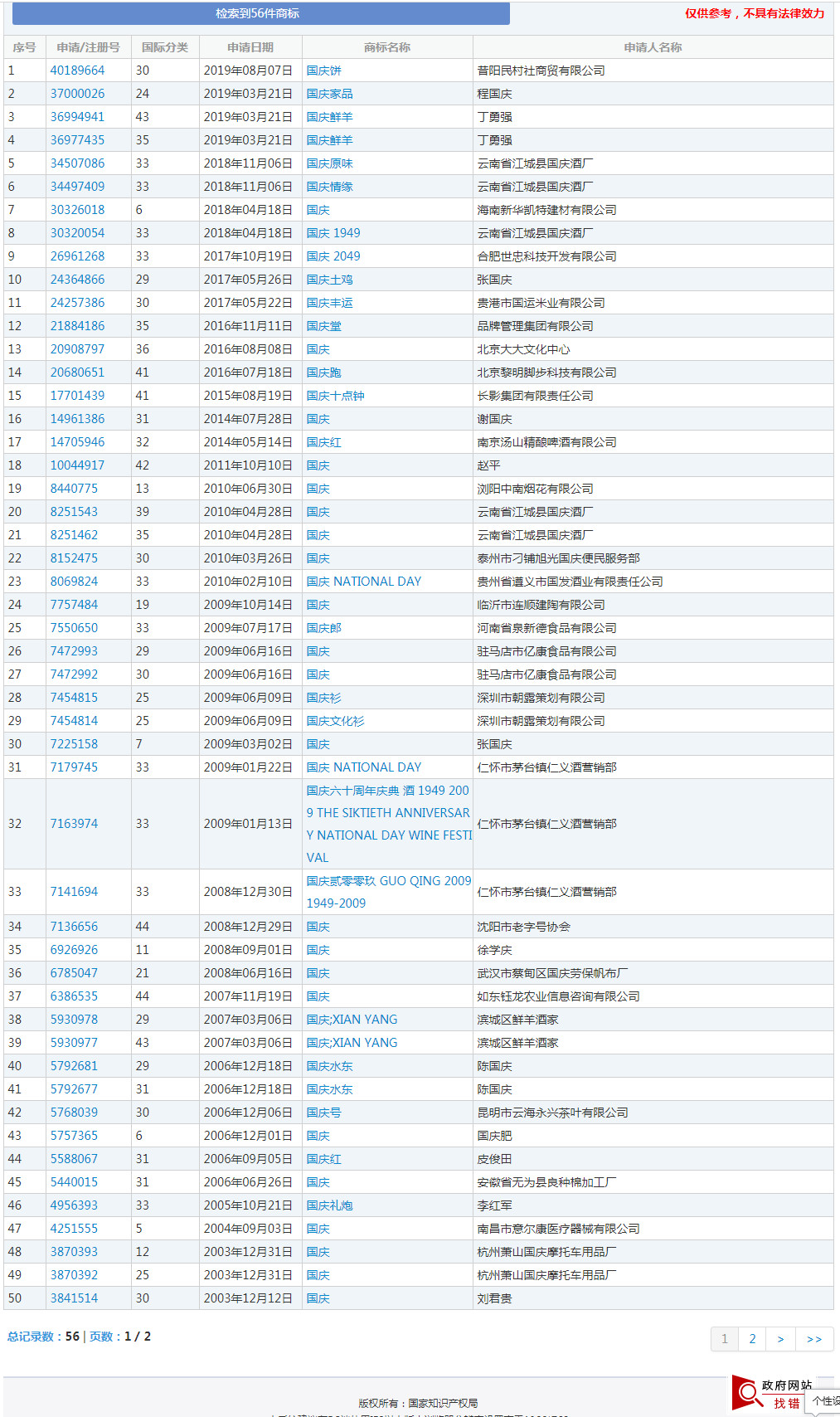
国庆
众所周知,国庆节是为了庆祝中华人民共和国成立而设立的节日,伴随的还有7天的长假。那么,“国庆”这么喜庆的名字,有没有被注册成商标呢?
经查询,一共有56件含有“国庆”字样的商标,在商标申请和使用的记录中不是已经失效就是被驳回!!

但是,还真有一件注册成功的"国庆"商标,该商标注册人原为江城哈尼族彝族自治县国庆供销社,后转让至云南省江城县国庆酒厂,申请于1993年7月7日,注册于1995年1月28日,注册号726717,经续展有效期至2015年1月27日,目前享有商标专用权。现又续展成功有限期至2025年1月27日。

哇哦!国庆乡政府、国庆派出所、国庆中学、国庆乡卫生院……
人家能申请成功是有原因的。
人家从娘胎出来就处处跟国庆打交道啊!
同是江城县国庆酒厂,该厂2010又在第35类广告、进出口代理等以及第39类运输、贮藏等类别上申请注册完全相同的“国庆”商标,但是均被驳回。当年注册成功的726717号“国庆”商标被核准的范围也仅有两个字“白酒”。可见,商标局对于将“国庆”注册为商标是持“慎之又慎”的态度的。
第二件国庆商标使用商品为水泥,于2008年1月13日有效期满,注册人没有办理续展,该商标已经失效。

那么关于节日能否注册成商标法律上是怎么规定的呢?
根据我国现行商标法的相关规定:任何能够将自然人、法人或者其他组织的商品与他人的商品区别开的标志,包括文字、图形、字母、数字、三维标志、颜色组合和声音等,以及上述要素的组合,均可以作为商标申请注册。因此,将传统节日名称作为商标进行申请注册,并未违反我国现行商标法的相关规定。
但我国现行商标法第五十九条第一款规定:注册商标中含有的本商品的通用名称、图形、符合,或者直接表示商品的质量等特点,注册商标专用权人无权禁止他人正当使用。而且这类商标其本身作为商标的显著性较低,也就是俗称的弱商标。因此,即使将其注册为商标亦难以进行独占使用,无权禁止他人作为常用甚至通用的吉庆语、节日语正当使用。
当然,也不排除专用权人考虑的是节日名字朗朗上口,又很好记,广告效应自然是事半功倍。这就“仁者见仁,智者见智”了。
来源:IPRdaily
作者:柚子
编辑:IPRdaily王颖
上一篇:包含节日名称的商标注册问题探析
下一篇:买商标怎么才能买到一个好商标
便捷链接:中秋等节日居然都被申请
本文来源:网络?买卖商标注册授权入驻“天猫”“京东”“拼多多”“抖音头条”“商标百科”
版权说明:上述为转载或编者观点,不代表亿佰倍懂商标意见,不承当任何法律责任
亿佰倍懂商标官方微信
欢迎关注亿佰倍懂
微信号:K58158 热门TAGS
购买上海商标 商标复审 商标撤三答辩 商标驳回复审 国际商标驳回 知名商标转让 白酒商标网 19类商标转让 18类商标转让 17类商标转让 16类商标转让 15类商标转让 14类商标转让 13类商标转让 11类商标转让 12类商标转让 10类商标转让 9类商标转让 8类商标转让 7类商标转让 6类商标转让 5类商标转让 4类商标转让 3类商标转让 2类商标转让 1类商标转让 T恤商标转让 红酒商标转让 黄酒商标转让 水饺商标转让 糖果商标转让 闲置商标转让 商标购买网站 月饼商标转让 购买月饼商标 购买牛奶商标 牛奶商标转让 购买餐饮商标 餐饮商标转让 啤酒商标转让 购买啤酒商标 购买酒类品牌 酒类品牌转让 购买饮料商标 饮料商标转让 食品商标转让 购买食品商标 购买镀膜商标 镀膜商标转让 机油商标转让 购买机油商标 头枕商标转让 购买头枕商标 车衣商标转让 购买车衣商标 购买车贴商标 车贴商标转让 凉垫商标转让 睡袋商标转让 包子商标转让
联系方式
【商标网】
企业QQ:1728988888
手机: 18211558558
官方微信:K58158
广东(总部)北京(分部)深圳(分部)

*截止
,共有人阅读了本文。


40
加工服务