现如今,“新型冠状病毒”已经成为网络热词,屡次登上热搜。
居然有人说:注册个“冠状病毒”商标如何?

出现这种想法,一品君并不意外。
因为长久以来,网络热词都逃不过被申请注册商标,非典时期就有人抢注“非典”商标的情况。
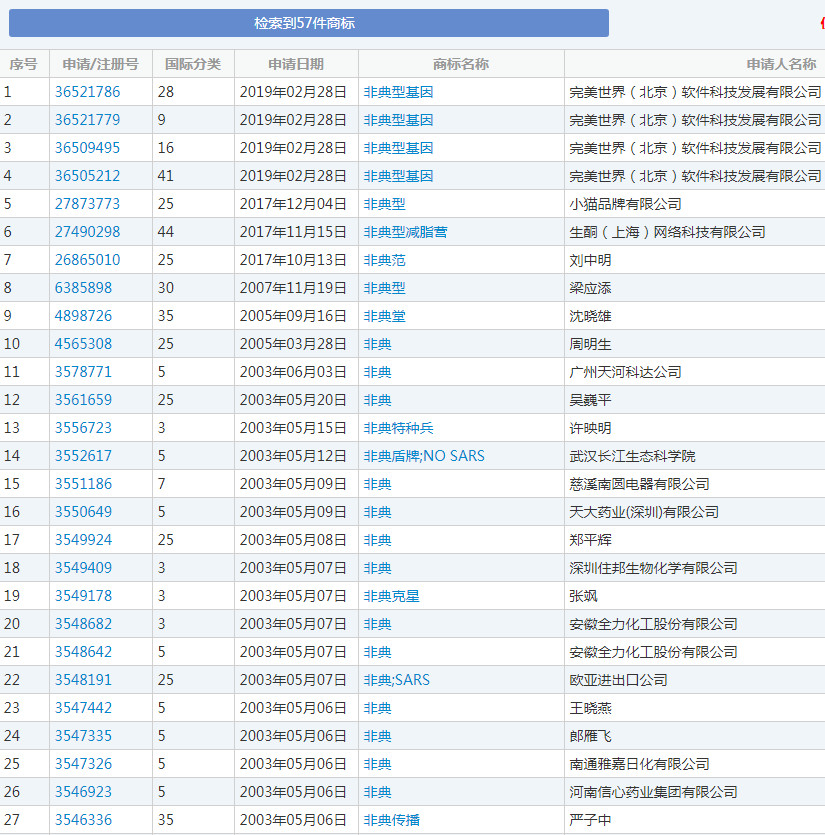
含有“非典”二字的商标共有57枚,大部分没能注册成功。

业内人士分析,由于“非典”已经是众所周知的词汇,可能因为“缺乏显著特征”而不能作为商标的范围,也可能会因“夸大产品作用”“有不良影响”而无法通过申请。
由此看来,如果有人申请“新型冠状病毒肺炎”、“冠状病毒”、“新冠肺炎”等商标,也不一定能够成功。
就目前来讲,尚未有人申请相关商标。
,欢迎+VX:xixili317
上一篇:商标注册如何选择类别?
下一篇:与“冠状病毒”同名,科罗娜狠砸1500万美元要求
便捷链接:有人居然想申请“冠状病
本文来源:网络?买卖商标注册授权入驻“天猫”“京东”“拼多多”“抖音头条”“商标百科”
版权说明:上述为转载或编者观点,不代表亿佰倍懂商标意见,不承当任何法律责任
亿佰倍懂商标官方微信
欢迎关注亿佰倍懂
微信号:K58158 热门TAGS
购买上海商标 商标复审 商标撤三答辩 商标驳回复审 国际商标驳回 知名商标转让 白酒商标网 19类商标转让 18类商标转让 17类商标转让 16类商标转让 15类商标转让 14类商标转让 13类商标转让 11类商标转让 12类商标转让 10类商标转让 9类商标转让 8类商标转让 7类商标转让 6类商标转让 5类商标转让 4类商标转让 3类商标转让 2类商标转让 1类商标转让 T恤商标转让 红酒商标转让 黄酒商标转让 水饺商标转让 糖果商标转让 闲置商标转让 商标购买网站 月饼商标转让 购买月饼商标 购买牛奶商标 牛奶商标转让 购买餐饮商标 餐饮商标转让 啤酒商标转让 购买啤酒商标 购买酒类品牌 酒类品牌转让 购买饮料商标 饮料商标转让 食品商标转让 购买食品商标 购买镀膜商标 镀膜商标转让 机油商标转让 购买机油商标 头枕商标转让 购买头枕商标 车衣商标转让 购买车衣商标 购买车贴商标 车贴商标转让 凉垫商标转让 睡袋商标转让 包子商标转让
联系方式
【商标网】
企业QQ:1728988888
手机: 18211558558
官方微信:K58158
广东(总部)北京(分部)深圳(分部)

*截止
,共有人阅读了本文。


40
加工服务