统一操作系统 UOS 是谁?
通俗来讲,UOS 是 Deepin 的商业版,是一款国产的 Linux 操作系统。Deepin 是武汉深之度的主打产品,也是目前唯一在国际 Linux 发行版排行榜中,位于前十的中国团队研发的产品。
所以简单来说,Deepin 和 UOS 的关系,可以类比为 Fedora 和 Redhat RHEL。
大家对统一操作系统 UOS (以下简称 UOS)的讨论一直颇有热度。一开始是社区针对 UOS 正式发布的“各种吐槽”,随后就是官方站出来一一回应质疑。
如果你要把 UOS 看成是又一个“红芯”或者“木兰”,真的是冤枉了它。但是你要说它扛起了“自主可控、替代 Windows”的大旗,真的还为时过早。针对大家集中关注的有关 UOS 的问题,今天咱们就来好好聊一聊。

目前社区对 UOS 的”吐槽“点主要有这么几个:
对 Deepin 本身的业务能力并不那么看好。“Deepin 在 Linux 版本中的排名本来就不高,Ubuntu 难道不香吗?”认为 Deepin 的使用不够稳定。“我用 Deepin15 的时候经常会遇到网卡突然消失,或者黑屏起不来的现象,大概两三天会碰上一次。自己用遇上这些无所谓,大不了重启一下,但是工作环境使用是真的不行,所以后面实习上班了我给公司电脑装了 Ubuntu 18。”
此外还有人质疑 Deepin 对开发者不够友好。“不要认为开发者上来给你操作系统写应用是为了赚钱,你需要建立起像 MacOS 那样的商店,但是千万不要盲目的向开发者收取所谓的应用服务器托管费,你生态都没有不能盲目赚钱。”
对于这些“吐槽”,网易杭州研究院云计算技术部首席架构师刘超认为:“在目前国内个人用户付费意愿普遍较低的情况下,Deepin 开放给个人用户使用,而 UOS 商业版应该重点关注政府、金融、电信等 To B 市场,来满足 To B 市场的需求,这样才能保障公司的收入。To C 市场还是路漫漫,需要有足够的弹药,这也是大部分开源软件对个人用户免费、对 To B 开发商业版,以赚取收入的典型模式。”
首先,大部分人使用 Linux 操作系统主要为了技术,在上面搭建各种各样的开源软件,比如 OpenStack、Kubernetes 等。这些比较火的开源软件,在官方网站上的开源和商业发行版本中,一般都会出现 CentOS 和 Ubuntu。另外,一般数据中心里面会用 CentOS 或者 RedHat,而很多技术人员自己做实验的时候,喜欢使用 Ubuntu,因为比较火的开源软件会提供一体化的安装脚本,这样大大降低了开源软件的使用门槛,谁都想顺利搭建成功,谁也不想出了问题慢慢调试,这点开源软件都会主动适配 Ubuntu 的兼容性。
其次是云平台的原因。刘超个人已经很少自己搭建 Linux 操作系统了,一般需要的时候,到公有云上一点击就创建好了,不用就删了。而 CentOS 和 Ubuntu 一般是公有云的标配。云平台基于操作系统做虚拟化,往往要做很多的优化,甚至到内核代码级别。阿里、华为都会有自己的内核开发团队,但是也主要研究 CentOS 和 Ubuntu,如果演进出一种新的服务器 Linux 操作系统,对于内核优化来说,可能需要重新适配开发一遍。
无论对于 UOS 还是其他国产 Linux 操作系统,替换掉 Windows 真有这么容易吗?毕竟虽然 UOS 解决了主动适配上下游的问题,但是要想替换 Windows,重点在于上下游是否主动适配它。
对此刘超举了一个很生动的例子:“虽然 UOS 适配了这些软件,但是对于非技术人员来讲,使用体验还是有差别的。这种差别是我和我妈解释不清楚的,所以我妈如果有个功能不会用,就去问问同样用 Windows 的我姨,就搞定了,如果我胆敢给我妈装一个 UOS,那啥事儿都是我来搞了。”
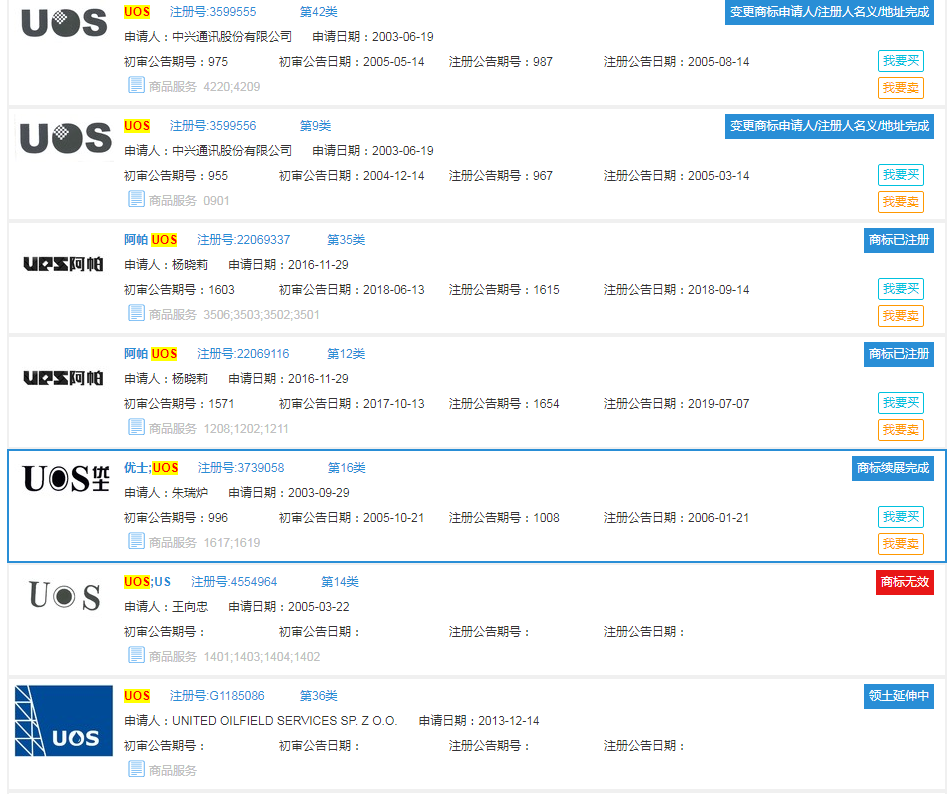
好了聊完以上,作为一名一品知识产权从业者的好奇心,小编就顺便去查询了下uos这个词的商标看注册了多少个,看还有没有机会注册下商标,好下手,让我们一起来看看,毕竟商标的市场还是很大的,有句话叫粮草未动,商标先行。



注册了19个uos相关的商标,虽然都是不同公司,但是注册也蛮多的,好了,小编就看看注册了几个商标,但是小编提醒如果想注册商标要注意商标的近似,避免白白注册浪费钱,比如文字商标近似,中文商标的汉字构成相同,仅字体或设计、排列顺序不同,判定为近似商标等。图形商标近似,组合商标近似等,详细的小编就不说了,建议注册商标之前还是先查询在下手。
今天就先到这里吧,如果有想查询商标的,小编可以免费帮你查询,可以咨询一品知识产权顾问。
上一篇:欧盟知识产权局发布公告:对中国申请人商标和外
下一篇:塑料标签属于商标哪个类别
便捷链接:国产操作系统,UOS,回应质疑
本文来源:网络?买卖商标注册授权入驻“天猫”“京东”“拼多多”“抖音头条”“商标百科”
版权说明:上述为转载或编者观点,不代表亿佰倍懂商标意见,不承当任何法律责任
亿佰倍懂商标官方微信
欢迎关注亿佰倍懂
微信号:K58158 热门TAGS
购买上海商标 商标复审 商标撤三答辩 商标驳回复审 国际商标驳回 知名商标转让 白酒商标网 19类商标转让 18类商标转让 17类商标转让 16类商标转让 15类商标转让 14类商标转让 13类商标转让 11类商标转让 12类商标转让 10类商标转让 9类商标转让 8类商标转让 7类商标转让 6类商标转让 5类商标转让 4类商标转让 3类商标转让 2类商标转让 1类商标转让 T恤商标转让 红酒商标转让 黄酒商标转让 水饺商标转让 糖果商标转让 闲置商标转让 商标购买网站 月饼商标转让 购买月饼商标 购买牛奶商标 牛奶商标转让 购买餐饮商标 餐饮商标转让 啤酒商标转让 购买啤酒商标 购买酒类品牌 酒类品牌转让 购买饮料商标 饮料商标转让 食品商标转让 购买食品商标 购买镀膜商标 镀膜商标转让 机油商标转让 购买机油商标 头枕商标转让 购买头枕商标 车衣商标转让 购买车衣商标 购买车贴商标 车贴商标转让 凉垫商标转让 睡袋商标转让 包子商标转让
联系方式
【商标网】
企业QQ:1728988888
手机: 18211558558
官方微信:K58158
广东(总部)北京(分部)深圳(分部)

*截止
,共有人阅读了本文。


40
加工服务