11月28日消息,据国外媒体报道,美国专利公布的文件显示,苹果正在研发可折叠iPhone,而现在外媒报道,苹果可折叠iPhone的OLED屏幕或由国内屏幕厂商京东方供应。

苹果可折叠设备专利
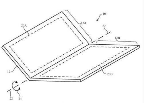
上周美国专利商标局公布的文件显示,苹果在2016年9月22日提交了可折叠电子设备的相关专利,从专利文件的描述中可以看出,电子设备具有一个可折叠的柔性部分,配备可折叠的柔性屏幕,当设备折叠时,屏幕也能沿着可弯曲的轴折叠。
这一专利公布之后,外界就纷纷预测苹果在研发可折叠的iPhone。
而现在显示屏行业的消息人士透露,苹果正与国内屏幕厂商京东方探索研发柔性OLED屏幕,京东方有可能成为苹果可折叠OLED屏幕的供应商。
在目前的OLED屏幕领域,三星优势还很明显,是为数不多的能大量供应OLED屏幕的厂商,iPhone X是苹果推出的首款采用OLED屏幕的iPhone,其OLED屏幕就是三星独家供应,当时也只有三星的供应量能满足苹果的需求。
但现在情形则不同,京东方OLED屏幕10月份已在成都量产,已开始向华为和小米供货,未来也有可能向苹果供应OLED屏幕。
虽然目前还不能确定京东方是否会为苹果下一代iPhone供应OLED屏幕,但苹果可能会对京东方的OLED屏幕进行测试,然后确定是否将其纳入供应商行列。
上一篇:竹家具属于第几类商标
下一篇:复古灯属于第几类商标?
便捷链接:苹果公司可折叠iPhone的屏
本文来源:网络?买卖商标注册授权入驻“天猫”“京东”“拼多多”“抖音头条”“商标百科”
版权说明:上述为转载或编者观点,不代表亿佰倍懂商标意见,不承当任何法律责任
亿佰倍懂商标官方微信
欢迎关注亿佰倍懂
微信号:K58158 热门TAGS
购买上海商标 商标复审 商标撤三答辩 商标驳回复审 国际商标驳回 知名商标转让 白酒商标网 19类商标转让 18类商标转让 17类商标转让 16类商标转让 15类商标转让 14类商标转让 13类商标转让 11类商标转让 12类商标转让 10类商标转让 9类商标转让 8类商标转让 7类商标转让 6类商标转让 5类商标转让 4类商标转让 3类商标转让 2类商标转让 1类商标转让 T恤商标转让 红酒商标转让 黄酒商标转让 水饺商标转让 糖果商标转让 闲置商标转让 商标购买网站 月饼商标转让 购买月饼商标 购买牛奶商标 牛奶商标转让 购买餐饮商标 餐饮商标转让 啤酒商标转让 购买啤酒商标 购买酒类品牌 酒类品牌转让 购买饮料商标 饮料商标转让 食品商标转让 购买食品商标 购买镀膜商标 镀膜商标转让 机油商标转让 购买机油商标 头枕商标转让 购买头枕商标 车衣商标转让 购买车衣商标 购买车贴商标 车贴商标转让 凉垫商标转让 睡袋商标转让 包子商标转让
联系方式
【商标网】
企业QQ:1728988888
手机: 18211558558
官方微信:K58158
广东(总部)北京(分部)深圳(分部)

*截止
,共有人阅读了本文。


40
加工服务